[导读]:我这是同一天的百度站长和百度统计,百度站长里显示有9个 永业候车亭key的点击 百度统计里却没有 不知道原因是什么? 检查一下,是不是统计代码安装不全? 点击进入“详...


我这是同一天的百度站长和百度统计,百度站长里显示有9个 永业候车亭key的点击
百度统计里却没有 不知道原因是什么?
检查一下,是不是统计代码安装不全?
点击进入“详情”页面,看下关键词来源页面是否正确。
###1.百度站长是搜索展现后点击数据(可以看到排名,并发生点击行为,是连贯的统计)
2.百度统计是点击转化数据(就是直接转码到你网站的数据)。百度的搜索编译和统计的反编译可能不同会造成无法统计到现象。
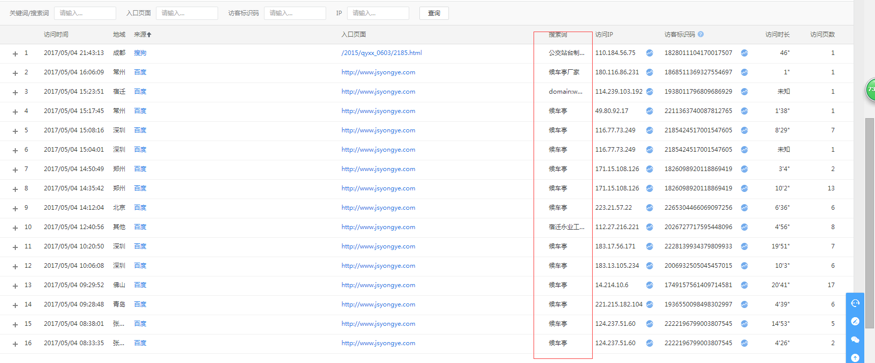
比如下面的例子。
就像上面的代码包含了“中国电能质量网”关键词,但是你无法通过反编译的形式统计到该关键词。你在统计里是看不到该搜索词记录。
###百度统计与百度站长的统计不在同时段里,你这样查看当然有问题;这点小数据不用去纠结了,不如再装个其他统计工具,对比一下就能知道哪里有问题了,如果需要提交报告,个人建议还是以百度统计后台数据为准。
本文来自投稿,不代表微盟圈立场,如若转载,请注明出处:https://www.vm7.com/a/ask/47008.html
